信息检索
- 查看往期年报
- 按年检索
-
- 检 索
- 内容检索
- 检 索
- 主 管:攀枝花市人民政府
- 编辑出版:攀枝花市人民政府办公室
- 地 址:攀枝花市东区三线大道北段
- 106号
- 邮 编:617000
- 电 话:0812-3507193
攀枝花市人民政府办公室
关于印发《攀枝花市防汛抗旱应急预案(2023年修订)》的通知
攀办发〔2023〕23号
各县(区)人民政府、钒钛高新区管委会,市政府各部门、各直属机构,有关单位:
按照《四川省人民政府办公厅关于印发四川省防汛抗旱应急预案(2023年度修订)的通知》要求,结合我市实际,市防汛抗旱指挥部办公室对我市防汛抗旱应急预案进行了修订,现将修订后的《攀枝花市防汛抗旱应急预案(2023年修订)》印发给你们,请认真贯彻落实。
攀枝花市人民政府办公室
2023年7月35日
攀枝花市防汛抗旱应急预案(2023年修订)
目 录
1 总则 5
1.1 指导思想 5
1.2 编制依据 5
1.3 适用范围 6
1.4 工作原则 6
1.5 工作机制 7
1.6 灾害及响应分级 7
1.7 主要任务 8
2 组织指挥体系及职责 8
2.1 组织指挥体系 8
2.2 工作职责 10
2.3 专项工作组 21
3 预防和监测预警 25
3.1 预防 25
3.2 监测预报预警 29
3.3 预警行动 33
3.4 预警支持 36
4 应急响应 37
4.1 总体要求 37
4.2 启动、终止条件及响应行动 39
4.3 信息报送和发布 49
4.4 社会力量动员 50
4.5 舆论引导 51
5 应急保障 51
5.1 通信与信息保障 51
5.2 应急装备保障 51
5.3 应急抢险队伍保障 51
5.4 供电保障 52
5.5 交通运输保障 52
5.6 医疗卫生保障 52
5.7 治安保障 52
5.8 物资保障 52
5.9 资金保障 53
5.10 技术保障 53
6 后期处置 53
6.1 物资补充和工程修复 53
6.2 调查评估 54
6.3 奖励 54
6.4 约谈整改 54
6.5 责任追究 54
7 附则 55
7.1 预案演练 55
7.2 预案管理与更新 55
7.3 名词术语定义 55
7.4 预案解释 57
7.5 实施时间 57
附件:
1.攀枝花市防汛抗旱组织指挥体系图 58
2.攀枝花市防汛抗旱指挥部专项工作组构成及职责 59
3.攀枝花市防汛抗旱应急响应流程图 61
4.攀枝花市干旱灾害分级标准 62
5.攀枝花市防汛抗旱应急响应启动条件汇总表 63
1 总则
1.1 指导思想
以习近平新时代中国特色社会主义思想为指导,坚持以人民为中心,坚持人民至上、生命至上,深入贯彻落实习近平总书记关于防灾减灾救灾工作的重要论述和“两个坚持、三个转变”防灾减灾救灾理念,紧紧围绕“讲政治、抓发展、惠民生、保安全”的工作总思路,始终把保障人民群众生命财产安全放在第一位,统筹发展和安全,坚持安全第一、预防为主,推进防汛抗旱体系和能力现代化建设,依法高效有序做好水旱灾害突发事件防范与处置工作,最大限度减少人员伤亡和财产损失,维护社会大局稳定。
1.2 编制依据
依据《中华人民共和国水法》《中华人民共和国防洪法》《中华人民共和国突发事件应对法》《中华人民共和国防汛条例》《中华人民共和国抗旱条例》《中华人民共和国河道管理条例》《四川省〈中华人民共和国防洪法〉实施办法》《四川省〈中华人民共和国抗旱条例〉实施办法》等法律法规,《四川省人民政府关于印发四川省突发事件总体应急预案(试行)的通知》(川府发〔2021〕5号)、《四川省防汛抗旱指挥部办公室关于转发国家防总办〈关于加强地方防汛抗旱应急预案修订的指导意见〉的通知》(川防办汛发〔2022〕1号)、《攀枝花市人民政府关于调整完善攀枝花市应急委员会的通知》(攀府函〔2019〕120号)、《攀枝花市人民政府关于调整防汛抗旱工作体制机制的通知》(攀办发〔2021〕52号)等文件要求,结合攀枝花实际,制定本预案。
1.3 适用范围
本预案适用于全市范围内突发性水旱灾害的预防和应急处置。突发性水旱灾害包括:江河洪水、渍涝灾害、山洪泥石流灾害、河道壅塞、堰塞湖、干旱灾害、供水危机及由洪水、地震、恐怖活动等引发的水库水电站垮坝、堤防渠道决口、水闸倒塌等次生衍生灾害。
1.4 工作原则
防汛抗旱工作实行各级人民政府行政首长负责制,坚持以下原则:
两个坚持、三个转变。坚持以防为主、“防抗救”相结合,坚持常态减灾和非常态救灾相统一,努力实现从注重灾后救助向注重灾前预防转变,从应对单一灾种向综合减灾转变,从减少灾害损失向减轻灾害风险转变。
统一领导、分级负责。全市各级各有关部门(单位)要落实“党政同责、一岗双责、齐抓共管、失职追责”要求,坚持分级负责、属地为主、层级响应、协调联动,做好防灾减灾救灾工作。有关部门(单位)依照本预案确定的任务,尽职尽责、密切协作、快速反应、形成合力、积极应对。
预防为主、综合施策。坚持工程与非工程措施相结合,完善防洪抗旱工程体系,突出水旱隐患排查整治,加强预案管理和物资队伍建设,强化监测会商与分析研判,健全预报预警发布机制,针对性开展演练,实现预报、预警、预演、预案的全链条融合。
科学处置、安全第一。险灾情发生后,坚持科学指挥决策,迅速组织专业队伍,及时开展险灾情处置,严防次生灾害发生。处置过程中要始终将抢险救援人员和群众的生命安全放在首位,及时转移受威胁人员。
以专为主、专群结合。加强防汛抗旱专业化队伍建设,积极运用新技术、新手段、新方法,将科学研判、快速处置、精准管控等要求贯穿“防抗救”各环节,不断提升防汛抗旱专业化水平。加强防汛抗旱宣传培训,健全群测群防体系,增强干部群众辨灾识灾、转移避险、自救互救的意识和实战能力。
1.5 工作机制
建立健全防汛抗旱责任落实“三单一书”、责任督促“两书一函”“四不两直”等工作机制,推动建立跨区域、跨流域、跨部门防汛抗旱联动机制;制定工作规则,厘清各有关部门(单位)之间、上下层级间的工作关系,构建分工明确、责任清晰、配合紧密的职责体系,形成统一指挥、高效协同、无缝衔接的“防抗救”一体化格局,以更高标准、更严要求、更快反应、更好效果做好防汛抗旱工作。
1.6 灾害及响应分级
根据预警、汛情、险情、灾情的影响程度、范围和发展趋势,市级防汛抗旱应急响应分为一、二、三、四级。
1.7 主要任务
减轻灾害风险,做好灾前预防和准备。
密切监控雨水情、旱情、工情、险灾情,强化会商研判,及时发布预报预警。
组织开展应急供水、调水,解决农村因旱人畜饮水困难。
组织疏散、转移、解救受威胁人员,及时妥善安置,开展必要的医疗救治。
科学运用各种手段开展险灾情处置,严防次生衍生灾害发生。
组织抢救、转移重要物资,管控重大危险源,保护重要民生和军事目标。
加强灾害发生地区及周边社会治安,保障公共安全,维护社会稳定。
2 组织指挥体系及职责
严格落实各级地方党委、政府防汛抗旱救灾主体责任,党政同责、一岗双责,建立健全统一科学高效的组织指挥体系,全面提升防汛抗旱能力。
2.1 组织指挥体系
攀枝花市防汛抗旱组织指挥体系图见附件1。
2.1.1 市防汛抗旱指挥部
攀枝花市防汛抗旱指挥部(以下简称市防指)是市应急委员会(以下简称市应急委)下设的专项指挥部,在市委、市政府和市应急委领导下负责组织、协调、指导全市防汛抗旱工作。
市防指由市政府主要领导任总指挥,负责市政府常务工作的副市长和分管水利的副市长共同担任指挥长,分管水利的副市长负责日常工作,攀枝花军分区副司令员任第一副指挥长,市水利局局长、市应急管理局局长任常务副指挥长,市政府分工副秘书长、市自然资源和规划局局长、市住房城乡建设局局长、市气象局局长、武警攀枝花支队支队长以及市水利局、市应急管理局分管负责同志任副指挥长。攀枝花军分区、武警攀枝花支队、市水利局、市应急管理局、市委宣传部、市发展改革委、市经济和信息化局、市教育和体育局、市公安局、市民政局、市财政局、市自然资源和规划局、市住房城乡建设局、市交通运输局、市农业农村局、市商务局、市文广旅局、市卫生健康委、市城管执法局、市国资委、市乡村振兴局、市国动办、市林业局、市气象局、市消防救援支队、市森林消防救援支队、市红十字会、长江上游水文水资源勘测局攀枝花分局、攀枝花水文水资源勘测中心、国网攀枝花供电公司、市通发办、中国电信攀枝花分公司、中国移动攀枝花分公司、中国联通攀枝花分公司、中国铁路成都局集团有限公司西昌工电段等为成员单位,有关负责同志为市防指成员。
市防汛抗旱指挥部办公室(以下简称市防办)设在市应急管理局、市水利局。市防办主任由市应急管理局局长、市水利局局长兼任,副主任由市应急管理局、市水利局、市自然资源和规划局、市住房城乡建设局、市气象局分管负责同志兼任。
2.1.2 县(区)防汛抗旱指挥部
各县(区)、钒钛高新区设立由有关部门组成的防汛抗旱指挥部(以下简称防指),由人民政府、管委会主要负责人担任总指挥,分管应急管理的负责人和分管水利的负责人担任指挥长,由分管水利的负责人负责日常工作,在上级防指和本级人民政府的领导下,指挥本辖区防汛抗旱工作。
2.1.3 乡镇(街道)、村(社区)防汛抗旱组织
有防汛抗旱任务的乡镇、街道设防指,由主要负责人担任指挥长,并明确与防汛抗旱工作任务相适应的工作人员,在上级防指的领导下,负责本区域防汛抗旱工作。
有防汛抗旱任务的行政村、城镇社区设防汛抗旱工作小组,由行政村、社区主要负责人担任责任人,兼任山洪灾害防御责任人,在上级防指的领导下,负责本区域防汛抗旱工作。
2.1.4 其他防汛抗旱组织
有关水利水电工程管理单位、在建涉水工程建设单位、有防汛抗旱任务的大中型企业,应组建专门机构,负责本单位的防汛抗旱工作。
2.2 工作职责
各级地方人民政府应当加强对防汛抗旱工作的统一领导,实行行政首长负责制。组织有关部门、单位,动员社会力量,采取措施加强防汛抗旱工程设施建设,巩固提高防汛抗旱能力;做好水旱灾害后的恢复与救济工作,包括灾区的生活供给、卫生防疫、救灾物资供应、治安管理、学校复课、恢复生产和重建家园等救灾工作以及所管辖地区的各项水毁工程设施修复工作;在本级财政预算中安排资金,用于本行政区域内遭受洪涝干旱灾害地区的抢险救灾和水毁工程修复。
2.2.1 市防指职责
市防指在市委、市政府和市应急委领导下,负责组织、协调、指导全市防汛抗旱工作。主要职责是:
(1)坚持以习近平新时代中国特色社会主义思想为指导,深入贯彻落实习近平总书记关于防灾减灾救灾和应急救援等重要论述,增强“四个意识”、坚定“四个自信”、做到“两个维护”,严格执行党中央、国务院和国家防汛抗旱总指挥部(以下简称国家防总),省委、省政府和省防汛抗旱指挥部(以下简称省防指)关于防汛抗旱的方针政策和决策部署。
(2)贯彻落实市委、市政府关于防汛抗旱工作的决策部署,分析研判全市防汛抗旱形势,部署水旱灾害防御工作,加强灾害应对处置工作的全过程统筹并监督执行情况。
(3)督促指导工程治理和非工程措施建设;完善防汛抗旱体系,提升全市防灾减灾救灾能力;督促指导做好思想、责任、措施落实等汛前准备工作;汛期组织会商研判,加强监测预警。
(4)督促指导防汛抗旱突发事件应对处置工作,适时启动防汛抗旱应急响应,科学调度水工程,及时处置险情、灾情;及时发布特别重大、重大或较大的防汛抗旱信息;指导各县(区)、钒钛高新区对未达到响应级别的防汛抗旱突发事件开展处置工作。
(5)按照市应急委的安排,负责组织指挥重大水旱灾害突发事件的应对处置工作。特别重大水旱灾害突发事件发生后,在国务院工作组,省委、省政府和市委、市政府的领导下开展应对处置工作。
(6)建立完善法规制度、预案体系,加强宣传培训演练,提升群众防灾减灾意识。
(7)完成省防指,市委、市政府交办的其他工作。
2.2.2 市防指领导职责
总指挥:担任全市防汛抗旱工作行政责任人,全面领导、指挥全市防汛抗旱工作,对防汛抗旱工作负总责。
指挥长:协助总指挥组织、指挥、协调全市防汛抗旱工作。分管应急管理的副市长负责防汛抗旱应急救援能力建设、灾后恢复重建等工作;分管水利的副市长负责市防指日常工作。完成总指挥安排的其他任务。
第一副指挥长:协助总指挥、指挥长落实防汛抗旱各项决策部署和工作要求。负责组织指挥所属部队和民兵、协调驻攀解放军和入攀支援部队开展抗洪抢险、营救群众等防汛抗旱行动。完成总指挥安排的其他任务。
常务副指挥长:协助总指挥、指挥长落实防汛抗旱各项决策部署和工作要求,负责市防办工作。市水利局主要负责同志统筹“防”和“治”,做好防御洪水应急抢险的技术支撑和保障工作;市应急管理局主要负责同志统筹“救”,协同做好“防”和“治”有关工作。完成总指挥安排的其他任务。
副指挥长:协助总指挥、指挥长落实防汛抗旱各项决策部署和工作要求,按照工作分工和总指挥、指挥长的安排,做好职责范围内的防汛抗旱工作。
2.2.3 市防办职责
市防办承担市防指日常工作,组织、协调、指导、监督全市防汛抗旱工作。负责检查督促各县(区)、钒钛高新区防指(办)认真贯彻国家防总(办)、省委、省政府和省防指(办)、市委、市政府及市防指的工作部署情况。负责市防指各成员单位综合协调工作,及时沟通、共享有关信息,向市防指提出重要防汛抗旱指挥、调度、决策意见。
(1)建立完善防汛抗旱工作机制。按照分级负责、属地为主的原则,建立市级领导干部包县(区)“一对一”包保责任制,确保安全度汛。组织建立市县乡村四级毗邻区域防汛联防联控机制,加强与邻近市(州)接壤区域之间、市内毗邻地区之间和流域上下游、左右岸之间的协调联动,建立完善以各流域为单位的上下游信息互通联动机制,切实做到“上游下雨,中游吹哨,下游避险”。
(2)安排部署各级各部门(单位)汛前准备工作并组织开展督促检查,负责本级有关防汛抗旱责任人的汇总上报并公示。
(3)组织开展防汛抗旱值班值守、会商调度、隐患排查、督导检查工作。
(4)组织防汛抗旱应急预案的编制及修订;组织开展防汛抗旱综合演练工作;洪涝干旱灾情统计、核实、上报和发布。
(5)统筹防汛抗旱宣传和信息报送、发布工作;发布市委、市政府有关重大决策部署和重大汛情、旱情及防汛抗旱动态等。
(6)负责市防指会议组织、文件起草、简报编印、档案管理等工作。
(7)完成市委、市政府和市防指交办的其他工作。
2.2.4 市防指成员单位职责
市防指成员单位是市防汛抗旱组织领导体系的重要组成部分,应根据职责分工,各司其职、各负其责、密切协作,确保防汛抗旱各项工作任务高质量完成。
攀枝花军分区:负责协调驻攀部队,组织民兵执行抗洪抢险、营救群众、转移运送物资、稳定秩序及其他重大防汛抗旱任务。完成市防指交办的其他任务。
武警攀枝花支队:负责组织所属部队执行抗洪抢险、营救群众、转移运送物资、保护重要目标安全、协同公安机关维护灾区社会秩序及其他重大防汛抗旱任务。完成市防指交办的其他任务。
市水利局:负责全市水旱灾害防治工作;承担“防”和“治”的职责及工作宣传;负责统筹未启动防汛抗旱应急响应时和启动三级、四级防汛抗旱应急响应后的全市水旱灾害应对处置工作;负责指导各县(区)、钒钛高新区对一般水旱灾害突发事件的处置工作;承担防御洪水应急抢险的技术支撑和保障工作;负责组织编制并实施水旱灾害防治规划,督促县(区)、钒钛高新区开展水旱灾害防御演练;承担水情旱情监测预警工作;负责水旱灾害风险普查与区划分级;负责督促指导在建大中型水利水电工程移民安全度汛工作;组织编制市内重要江河湖泊和重要水工程的防御洪水、抗御旱灾调度和应急水量调度方案,按程序报批并组织实施;督促指导水利工程设施、设备的安全运行、应急抢护,负责防洪抗旱工程安全和监督管理;承担市防指的有关日常工作,负责市防指有关会议组织、文件起草、简报编印、档案管理等工作;组织建立市领导包县(区)“一对一”包保责任制,指导建立县(区)包乡(镇)、乡(镇)包村(组)、村(组)包户的干部包保责任制;组织建立区域转移避险联防联控机制。完成市防指交办的其他任务。
市应急管理局:负责对接省防指及省防办;负责统筹启动一级、二级防汛抗旱应急响应后的全市水旱灾害应对处置工作;负责编制修订《攀枝花市防汛抗旱应急预案》;负责洪涝灾区和旱区群众的生活救助,督促、指导各级应急救援演练;建立灾情报告制度,提交市防指依法统一发布灾情;组织开展综合监测预警,承担水旱灾害综合风险评估工作;协助指导各县(区)、钒钛高新区对一般水旱灾害突发事件的处置工作;协助全市水旱灾害防治工作;组织建立区域抢险救灾联防联控机制,做好应急救援力量统筹调度,健全应急物资协同保障和联动机制;组织建立应急物资共用共享和协调机制。完成市防指交办的其他任务。
市委宣传部:负责职责范围内的防汛抗旱重大信息发布、舆论引导等工作;负责统筹做好防汛抗旱网络舆情管控工作,指导有关单位(部门)做好舆情监测、上报、研判、处置等工作,及时发布有关信息,回应社会关切。完成市防指交办的其他任务。
市发展改革委:负责安排重点防汛抗旱建设项目,积极争取将重大防汛和抗旱工程建设纳入上级基建计划;负责协调各部门开展应急粮食和物资储备、保障、调运工作,保障受灾群众粮食及帐篷、棉被、折叠床等生活类救灾物资供给;按职责分工配合做好能源领域防汛抗旱的组织实施工作,配合做好受灾区域和受灾群众生产生活能源保障有关工作。完成市防指交办的其他任务。
市经济和信息化局:负责防汛抗旱、抢险救灾所需的煤、电、成品油、天然气的紧急调度和铁路运输的协调,并按照市防指指令做好应急药品储备保障,配合指导水电站安全运行,协调市防指防洪调度指令顺利执行。完成市防指交办的其他任务。
市教育和体育局:负责组织指导学校防汛减灾工作和校区的防汛安全,组织指导各地有序组织师生安全撤离,必要时采取停课、调整上课时间、停止校车运营等措施。完成市防指交办的其他任务。
市公安局:负责维护防汛抢险秩序和灾区社会治安等工作,协助组织群众撤离和转移。完成市防指交办的其他任务。
市民政局:指导各类社会组织、志愿者规范开展救灾捐赠工作,及时做好统计、分配、使用、公示和反馈等工作;督促指导各县(区)、钒钛高新区及时将符合条件的受灾群众纳入临时救助或最低生活保障范围。完成市防指交办的其他任务。
市财政局:负责市级防汛抗旱经费的筹集、拨付和监督管理,及时下拨中央和省级防汛抗旱补助资金。完成市防指交办的其他任务。
市自然资源和规划局:负责指导协调因降雨诱发的山体滑坡、崩塌、地面塌陷、泥石流等地质灾害的监测、预警、防治等工作,做好因降雨突发地质灾害抢险救援的技术保障工作,为防汛抗旱决策提供地理信息支撑;组织建立地质灾害区域转移避险联防联控机制。完成市防指交办的其他任务。
市住房城乡建设局:负责制订完善本系统防汛应急预案,并组织实施;负责组织指导城镇排水防涝设施工程建设、城镇内的排涝设施和设备的应急抢护等工作,指导各县(区)、钒钛高新区做好城镇建成区内的排涝设施和设备的应急抢护等工作,组织指导对灾区受灾房屋结构安全进行应急评估,为灾区群众应急安置房和灾后返迁房的启用安全提供技术指导。完成市防指交办的其他任务。
市交通运输局:负责公路水路交通行业防汛抗旱工作,指导和协调处置职责范围内公路水路抢通保通和应急运输保障等工作,配合公安交警做好道路交通管制。完成市防指交办的其他任务。
市农业农村局:负责及时收集、整理和反映全市农业旱涝灾情信息,指导全市农业防汛抗旱和灾后农业救灾、生产恢复及农垦(农场)系统的防洪安全等工作。完成市防指交办的其他任务。
市商务局:负责灾区主要生活必需品市场监测,保障主要生活必需品市场供应,协调防汛抗旱救灾和灾后恢复重建主要生活必需品供应等工作。完成市防指交办的其他任务。
市文广旅局:负责组织指导文化旅游行业做好防汛减灾、防汛安全等工作;协助景区主管部门做好景区景点防汛减灾工作,视降雨情况协调、督促地方组织A级旅游景区临时关闭。完成市防指交办的其他任务。
市卫生健康委:负责组织指导地方开展灾区卫生防疫和医疗救治工作。完成市防指交办的其他工作。
市城管执法局:负责事权范围内园林绿化和城市公园人工湖泊防汛抗旱;指导燃气企业做好应对洪涝灾害准备工作,确保燃气设施安全度汛。完成市防指交办的其他任务。
市国资委:负责督促指导所监管市属国有企业做好防汛抗旱工作。完成市防指交办的其他任务。
市乡村振兴局:负责指导、协调采煤沉陷区度汛工作。完成市防指交办的其他任务。
市国动办:负责协调组织人防工程防汛抗旱工作,组织人防专业队伍配合做好防汛抢险救灾工作。完成市防指交办的其他任务。
市林业局:负责及时收集、整理和反映全市林业旱涝灾情信息,做好林业防汛救灾、生产恢复工作,负责林地灾后生态修复,配合做好防汛抢险现场伐木工作;配合做好防汛抢险采伐林木报告工作。完成市防指交办的其他任务。
市气象局:负责天气气候监测、预报、预警,及时、准确提供防汛抗旱所需的气象信息,组织实施抗旱人工增雨作业;负责与毗邻地区建立区域气象预警联防联控机制,实现预警信息互联互通,督促各县(区)气象部门建立毗邻地区气象信息沟通联动机制,保持密切联系,实时传递雨情。完成市防指交办的其他任务。
市消防救援支队:根据险情灾情,按照市防指安排,参与防灾减灾救灾有关工作,承担水旱灾害突发事件抢险救援工作。完成市防指交办的其他任务。
市森林消防支队:根据险情灾情,按照市防指安排,参与防灾减灾救灾有关工作,承担水旱灾害突发事件抢险救援工作。完成市防指交办的其他任务。
市红十字会:负责组织社会力量,筹措社会资金,配合协助水旱灾害抢险救援。完成市防指交办的其他任务。
长江上游水文水资源勘测局攀枝花分局:负责金沙江流域所辖范围内雨水情监测、预报,及时准确提供防汛抗旱信息;依托“四川省流域水旱灾害联防联控机制”,组织建立区域水情预警联防联控机制,全面实现金沙江、雅砻江、安宁河水情互联互通。完成市防指交办的其他任务。
攀枝花水文水资源勘测中心:负责安宁河和雅砻江流域及全市中小河流所辖范围内雨水情监测、预报和土壤墒情监测,及时准确提供防汛抗旱信息;充分利用现有水文监测站网、设备,实时监测重要中小河流水情,遇水情预警第一时间通报有关县(区)、钒钛高新区防指和市防办。完成市防指交办的其他任务。
国网攀枝花供电公司:负责水电站防汛抗旱电力调度运行、电力设施保障等工作,协助指导水库水电站管理单位执行防汛调度指令。完成市防指交办的其他任务。
市通发办:负责组织指导企业保障通信设施的防洪安全,保障抢险救灾指挥和重要部门、区域的通信畅通。组织基础电信运营商发送防汛减灾公益短信。完成市防指交办的其他任务。
中国电信攀枝花分公司:负责所辖通信设施的防洪安全,保障抢险救灾指挥和重要部门、区域的通信和预警信息发布渠道畅通。完成市防指交办的其他任务。
中国移动攀枝花分公司:负责所辖通信设施的防洪安全,保障抢险救灾指挥和重要部门、区域的通信和预警信息发布渠道畅通。完成市防指交办的其他任务。
中国联通攀枝花分公司:负责所辖通信设施的防洪安全,保障抢险救灾指挥和重要部门、区域的通信和预警信息发布渠道畅通。完成市防指交办的其他任务。
中国铁路成都局集团有限公司西昌工电段:负责管辖铁路防汛安全监督管理;负责所辖工程及设施的防洪安全,优先运送防汛抗旱抢险人员以及物资、设备。完成市防指交办的其他任务。
市级各行业主管部门负责协调建立市内跨县(区)流域上下游信息互通联动机制,指导各县(区)、钒钛高新区有关行业主管部门建立辖区内跨乡(镇)流域上下游信息互通联动机制。
2.3 专项工作组
发生或预判将发生重大及以上水旱灾害时,市防指根据应急响应等级,设立专项工作组(见附件2)。专项工作组数量、成员单位和职责可根据实际需要进行调整。各专项工作组组长由牵头单位有关负责同志担任,负责协调工作组各成员单位共同做好应急处置工作,组内成员单位要加强分工合作、协调联动,形成应对合力。
(1)综合协调组
牵头单位:市应急管理局、市水利局。
成员单位:市发展改革委、市公安局、市自然资源和规划局、市交通运输局、市国资委等有关单位。
工作职责:传达贯彻党中央、国务院指示,传达执行国家防总,省委、省政府、省防指和市委、市政府指示、部署,做好防汛抗旱综合协调工作。汇总报送灾险情动态和应急工作进展情况等。完成市防指交办的其他任务。
(2)抢险救援组
牵头单位:市应急管理局、市水利局。
成员单位:攀枝花军分区、武警攀枝花支队、市公安局、市自然资源和规划局、市住房城乡建设局、市交通运输局、市国动办、市消防救援支队、市森林消防支队、市红十字会等有关单位。
工作职责:负责组织指导救援救助受灾群众,统筹各有关力量实施抢险救援救灾工作。完成市防指交办的其他任务。
(3)技术保障组
牵头单位:市水利局。
成员单位:市自然资源和规划局、市气象局、长江上游水文水资源勘测局攀枝花分局、攀枝花水文水资源勘测中心等有关单位。
工作职责:负责做好气象、水文、地质、测绘等信息保障。密切监视汛情、险情、灾情及次生衍生灾害发展态势,及时组织会商研判,为应急抢险救援提供决策咨询。完成市防指交办的其他任务。
(4)通信电力保障组
牵头单位:市通发办、国网攀枝花供电公司。
成员单位:市发展改革委、市经济和信息化局、中国电信攀枝花分公司、中国移动攀枝花分公司、中国联通攀枝花分公司等有关单位。
工作职责:负责应急通信、电力等保障工作;组织抢修供电、供气、通信等设施。完成市防指交办的其他任务。
(5)交通保障组
牵头单位:市交通运输局。
成员单位:市公安局、中国铁路成都局集团有限公司西昌工电段等有关单位。
工作职责:负责做好交通运输保障。实施必要的交通疏导和管制,维护交通秩序;协调组织优先运送伤员和抢险救援救灾人员、物资、设备。完成市防指交办的其他任务。
(6)灾情评估组
牵头单位:市应急管理局、市水利局。
成员单位:市自然资源和规划局、市住房城乡建设局、市交通运输局、市农业农村局等有关单位。
工作职责:负责水旱灾害事件灾情统计、核查和灾害损失评估、灾害调查评估。完成市防指交办的其他任务。
(7)群众安置组
牵头单位:市应急管理局、市发展改革委。
成员单位:市教育和体育局、市民政局、市财政局、市自然资源和规划局、市住房城乡建设局、市水利局、市商务局、市文广旅局、市红十字会等有关单位。
工作职责:负责指导受灾群众(游客)转移安置和基本生活保障。对安置场所进行灾害风险评估;及时组织调拨救灾款物,视情开展救灾捐赠;做好受灾人员家属抚慰和因灾遇难人员遗体处置工作。完成市防指交办的其他任务。
(8)医疗救治组
牵头单位:市卫生健康委。
成员单位:市经济和信息化局、市红十字会等有关单位。
工作职责:负责医疗救(援)治和卫生防疫工作。加强医疗物资的组织调度,做好救援人员的医疗保障工作;做好洪灾及次生衍生灾害发生后疾病预防控制和卫生监督工作。完成市防指交办的其他任务。
(9)社会治安组
牵头单位:市公安局。
成员单位:武警攀枝花支队等有关单位。
工作职责:负责灾区社会治安维稳工作。预防和打击各类犯罪活动,预防和处置群体事件;做好灾区重要目标安全保卫工作。完成市防指交办的其他任务。
(10)宣传报道组
牵头单位:市委宣传部。
成员单位:市水利局、市应急管理局、市公安局等有关单位。
工作职责:统筹新闻报道工作。指导做好现场发布会和新闻媒体服务管理;组织开展舆情监测研判,加强舆情管控。完成市防指交办的其他任务。
(11)其他工作组
牵头单位、成员单位和工作职责等根据需要调整设置。
3 预防和监测预警
3.1 预防
防汛抗旱工作应按照“两个坚持、三个转变”防灾减灾救灾理念,在城乡建设、工程选址、各类规划中提前考虑规避灾害风险,充分做到灾前预防,全面提升全社会抵御自然灾害的综合防范能力。全市各级防指要按照职能职责,从思想认识、组织管理和技术保障上充分做好水旱灾害的预防准备工作。
(1)思想准备。贯彻落实党中央、国务院,省委、省政府和市委、市政府关于防灾减灾救灾工作的部署和要求,加强宣传动员,增强各级领导干部风险意识和底线思维,增强全民防御水旱灾害和自我保护的意识,做好防大汛、抗大旱、抢大险、救大灾的思想准备。
(2)组织准备。建立健全组织体系,强化责任体系,全面梳理建立领导干部责任清单、部门职责清单、隐患风险清单和一项承诺书,理顺防灾减灾救灾工作机制,完善监测预警、指挥调度、会商研判、值班值守等制度,落实防汛抗旱责任,逐级落实并公示江河、水库水电站、山洪灾害危险区、城镇等各级各类防汛抗旱责任人,加强防汛抗旱队伍建设和管理。
(3)工程准备。做好堤防、水库水电站、河道整治、涵闸、泵站等各类水工程运行准备,按要求完成防汛抗旱工程建设和水毁工程修复建设任务,对存在病险的防洪工程等实行应急除险加固,对在建的涉水工程设施和病险工程,落实安全度汛方案和工作措施。补齐排水防涝设施短板,逐步形成城市排水防涝工程体系,系统化推进城市内涝治理,保障城市运行。住房城乡建设、水利等部门应加强协调和配合,科学调度防洪排涝工程、正确处理外洪内涝关系,确保防洪防涝安全。
(4)预案准备。有防汛抗旱任务的各级地方人民政府及其部门、基层组织、企事业单位和社会团体要及时编制和修订防汛抗旱应急预案,并根据实际情况,制定配套的工作手册、行动方案等支撑性文件,构建上下衔接、横向协同、高效完备的应急预案体系。
(5)物资队伍准备。明确防汛抗旱物资品种、数量,足额补充和储备防汛抗旱抢险救灾物资,确保急需时可调可用。统计梳理掌握综合性抢险救援队伍以及其他专业救援力量情况,建强补齐“一主两辅”基层应急力量体系,加强抢险救援队伍培训,组织开展综合应急演练或桌面推演,有效提升救援和处置能力。在山洪危险区和地质灾害隐患点等重点区域利用学校操场、广场等满足避险转移安置条件的场所合理预置部分应急抢险救援和救助类物资,用于保障应急抢险救援和避险安置群众临时生活需求。
(6)通信准备。根据职能职责,分级完善监测预警网络,健全预警发布机制,畅通预警发布渠道,确保覆盖到村(社区)、到户、到人;分级检查和维护防汛抗旱通信专网和监测预警设施设备,保障其正常使用;加强水旱灾害多发易发频发地区通信网络容灾抗毁能力建设,提升基层应急通信网络设备覆盖率。
(7)风险辨识管控。各级各有关部门(单位)要结合本地本行业(系统)实际,组织开展水旱灾害风险辨识,明确风险点及种类,列出风险清单,加强风险评估、管控,制定并落实有关管控措施。充分预判预估致灾因素和灾害风险,有针对性落实“降低阈值、超前预警、提级响应、早撤快跑”措施。
(8)隐患排查治理。牢固树立“防胜于救”理念,采取群专结合、人技结合、点面结合等方式,充分运用新技术新方法,聚焦水旱灾害易发的重点区域、重点部位和重要设施,全面开展辖区内水旱灾害风险隐患排查。住房城乡建设、交通运输、水利等有关部门以及铁路等有关单位按职责分工全面排查城市易涝风险点,要突出抓好市政道路隧道、地下空间、下沉式建筑、在建工程基坑等易涝积水点(区)隐患排查,并逐项整治消险。坚持开展“雨前排查、雨中巡查、雨后核查”,健全各级各部门(单位)、基层干部群众联防联动和隐患动态监管机制。对发现的风险隐患登记、评估、整改和处置,及时消除和控制风险,不能及时处置的,要落实好责任人和针对性应急措施。
(9)汛前检查。汛前,市、县(区)防指组织成员单位组成工作组,由县级领导带队赴县(区)、钒钛高新区,以及乡镇(街道)、村(社区)开展汛前检查工作。检查中央、省、市有关部署落实、防汛减灾责任体系建立、体制机制建立完善、能力建设、防汛抗旱工作职责界限和责任衔接、风险隐患排查治理及防汛经费使用管理、物资储备、抢险救援力量配置、宣传培训演练、方案预案编制等应急保障落实情况,防汛重点部位和关键环节防范措施落实情况,重点防灾减灾项目推进情况,查找防汛抗旱工作存在的薄弱环节,明确责任,限时整改。
(10)组织演练。各县(区)、钒钛高新区、市级有关部门(单位)要适时组织开展针对性演练,所有水库水电站、在建涉水工程、山洪灾害危险区每年应组织专项演练。演练要突出实战性、实效性,针对当地易发生的各类险情灾情,组织有关责任人、受威胁群众、抢险救援队伍等广泛参加,充分考虑夜间、降雨、涨水、交通、通信、电力中断等因素,涵盖监测预警、工程调度、转移安置、抢险处置、救援救灾等内容。
(11)宣传培训。结合实际,按照分级负责的原则,各级防汛抗旱指挥机构组织实施防汛抗旱知识与技能培训,建立健全培训制度,每年汛前至少组织一次培训,定期不定期组织责任人、管理人员、成员单位人员等开展防汛抗旱培训,提升防灾减灾救灾能力和防范化解风险水平。市防指负责县(区)级防指负责人及其办公室工作人员、防汛抢险专业队伍负责人和防汛抢险技术骨干的培训;县(区)级防指负责乡镇(街道)、村(社区)防汛抗旱负责人、防汛抢险技术人员的培训。深入推进防汛减灾宣传进企业、进农村、进社区、进学校、进家庭,全面提高公众防汛减灾意识和自救互救能力。
3.2 监测预报预警
3.2.1 监测
(1)雨水情
气象、水利和农业农村部门为防汛抗旱监测信息的主要提供单位,按照部门职能职责,合理布设雨、水、墒情站网,加强监测,及时、准确、全面向市防指提供监测成果。市防指应向气象、水文机构适时提出要求,实时掌握天气形势和江河水势变化。水利部门定期对各类水利工程蓄水情况进行统计、汇总、审核、分析,及时、准确向市防指提供监测成果。
(2)工程信息
水库。根据管理权限,各级水行政主管部门应向水库水电站管理单位及时下达报汛报旱任务书,水库水电站管理单位要根据报汛报旱任务书要求,上报水库水位、入库流量、出库流量、蓄水量等监测信息。在水库水位超过汛限水位时,水库管理单位应对大坝、溢洪道、放水设施等关键部位加密监测,并按照有调度管理权限的水行政主管部门批准的洪水调度方案进行调度,其工程运行状况应向有调度管理权限的水行政主管部门报告。当水库发生险情后,水库管理单位要落实专人监测,及时进行应急抢护处理并向主管部门和当地防指报告,大中型水库发生重大险情应在险情发生后20分钟内上报至市防指并抄报省防指。
堤防。各级堤防工程管理单位负责对所管辖的堤防(含护岸,下同)进行日常巡查。出现警戒水位以上洪水时,应加强监测并及时向主管部门报送运行情况。发生险情后,要落实专人监测,及时进行应急抢护处理并向主管部门和当地防指报告。大江大河堤防发生重大险情应在险情发生后20分钟内上报至市防指并抄报省防指。
其他。水闸、涵洞、渠道、渡槽等其他涉水建筑物工程管理单位在工作中要对所管辖的涉水建筑物进行日常巡查。当江河出现警戒水位以上洪水时,各级水闸、涵洞等其他涉水建筑物管理单位应加强监测,并将运行情况报主管部门。发生险情后,要落实专人监测,及时进行应急抢护处理并向主管部门和当地防指报告。
(3)堰塞湖险情
出现堰塞湖险情后,涉及县(区)、钒钛高新区防指应立即组织核实堰塞湖库容、上游来水量、堰塞体物质组成、堰塞体形态、淹没区及溃决洪水影响区的风险人口、重要城镇、公共或重要设施、生态环境等,按照《堰塞湖风险等级划分与应急处置技术规范》(SL/T450—2021),明确堰塞湖风险等级,由对应的牵头单位组织开展应急监测和安全监测,并将有关情况报上级防指。
(4)城市内涝
住房城乡建设等部门要加强对城市(县城)重要易涝点位的监测管控,合理布设监测设施,提高城市内涝智慧化监测水平。
(5)旱情
各级防指应掌握水雨情变化、蓄水情况、农田土壤墒情和城乡供水情况,水利、农业农村、气象等部门应加强旱情监测预测,针对干旱灾害的成因、特点和发展趋势,因地制宜采取预警防范措施,并将有关情况及时报同级防指。
(6)灾情
各级防指应及时收集、核实、汇总、上报洪涝和干旱灾情。洪涝灾情信息主要包括:灾害发生的时间、地点、范围、受灾人口、因灾死亡失踪人口、紧急转移安置人口、因灾伤病人口、需紧急生活救助人口等信息,以及居民房屋等财产、农林牧渔、交通运输、邮电通信、水利、水电气设施等方面的损失信息。干旱灾害信息主要包括:干旱发生的时段、地点、程度、受旱范围、影响人口等信息,以及对工农业生产、城乡生活、生态环境等方面造成的影响信息。
3.2.2 预报
气象、水文、水利部门对雨水情加强跟踪分析研判。气象部门应在提供全市中长期预报的同时,特别加强小区域短期降雨临时预报。水文、水利部门应在提供主要江河控制站预报的同时,加强中小河流洪水预报。
市防指细化落实发布暴雨蓝色及以上预警的临灾调度会商、调度、“叫应”现场督导等有关工作机制,加强组织会商,将江河流域上下游雨情、水情、气象预警列为会商重要内容。定期不定期分析研判雨水情、旱情、险情和灾情趋势并及时通报。
3.2.3 预警分类分级
按照气象、水文、水利有关行业标准,结合攀枝花汛情特点,分为暴雨、干旱、江河洪水、山洪灾害风险四类预警。暴雨、江河洪水、山洪灾害风险预警级别从高到低划分为红色、橙色、黄色、蓝色四个等级,干旱预警从高到低划分为橙色、黄色、蓝色三个等级。
各县(区)、钒钛高新区根据实际情况进一步细化预警分类分级。
3.2.4 预警发布
各级防指应加强预警信息管理,建立预警信息共享发布机制,组织预警发布主管部门建立面向公众和面向防范应对责任人两条预警主线,实现预警信息的权威统一发布,提高预警信息发布的时效性和覆盖面。
(1)发布权限。气象、水文、水利等部门负责确定预警区域、级别,报同级防指,并按相应权限发布。气象部门负责发布暴雨、干旱预警,水文、水利部门负责发布江河洪水、山洪灾害气象风险预警。
(2)发布方式。抓紧畅通信息传递“最后一公里”,提高信息覆盖面和时效性。预警信息的发布和调整情况要及时通过广播、电视、手机、报刊、通信与信息网络、警报器、宣传车、大喇叭或组织人员逐户通知等方式进行宣传。
(3)预警对象。强化预警信息传递,健全面向公众和防灾责任人的两条预警主线,落实直达基层责任人的预警“叫应”机制。预警发布单位根据预警级别明确预警对象,其中对学校、医院、旅游景区、在建工地、移民安置点、山洪灾害危险区、河心洲岛(坝)等特殊场所以及老、幼、病、残、孕等特殊人群应当进行针对性预警,确保预警信息第一时间传达到村到户到企到人。
(4)信息反馈。按照分级负责、归口管理的方式,各级各有关部门(单位)接收到预警信息后,应立即组织部署防范应对工作,并向有关部门报送情况。建立直达基层责任人的临灾预警“叫应”机制,当发布红色、橙色预警时,预警发布主管部门要第一时间电话报告同级防指指挥长并逐级通知影响区基层党政领导及防汛责任人。基层责任人接到预警信息并采取应急措施后要及时反馈,确保既要“叫醒”也要“回应”。各县(区)、钒钛高新区防指要结合实际制定预警信息终端反馈机制,压紧压实工作责任,明确专人负责预警信息反馈,畅通预警信息反馈渠道,确保预警信息发挥实效。
(5)信息通道保障。市委宣传部、市通发办、电信、移动、联通三大运营商等部门(单位)要做好预警信息发布通道保障工作。
3.3 预警行动
各级防指要做好有关预警与应急响应的衔接工作,要健全多部门联合会商机制,视情组织联合会商,分析研判灾害风险,综合考虑可能造成的危害和影响程度,及时提出启动、调整应急响应的意见和建议。各级防汛抗旱指挥机构应急响应原则上与本级有关部门(单位)的预警挂钩,把预警纳入应急响应的启动条件。
3.3.1 行动措施
当发布蓝色、黄色预警时(市级或当地,下同),有关层级防指负责同志组织会商调度,当发布橙色、红色预警时,有关层级防指主要负责同志组织会商调度。预警信息发布后,各级各有关部门(单位)要根据预警级别和实际情况,按照分级负责、属地为主、层级响应、协调联动的原则,采取相应防范措施。
(1)密切关注雨情、水情、旱情,提高监测频次,滚动更新预报,及时发布传递预警信息。
(2)组织有关部门、单位和专家召开会商调度会,研判防汛抗旱形势,及时发送研判成果。
(3)按照“三个避让”“三个紧急撤离”要求,坚决疏散、转移易受威胁人员并做好安置和安全管理工作。
(4)视情对预警地区防汛抗旱工作进行督促和指导。
(5)加强水库水电站、堤防、山洪灾害危险区、在建工地、移民安置点、河心洲岛(坝)等部位和区域的巡查值守,及时报送有关信息。
(6)关闭或限制使用易受洪涝灾害危害的场所,控制或限制容易导致危害扩大的公共场所活动,视情及时组织做好人员转移、停工、停学、停业、停运和暂停户外活动,受威胁企业停工停产撤人,转移重要物资等工作,及时劝阻山间溪谷、浅滩水域内野游、露营等行为,加强对重大危险源的管控,对重点部位和灾害易发区提前预置抢险救援力量。
(7)组织有关责任人、专业抢险救援队伍和负有特定职责的人员进入待命状态,动员后备人员做好准备,视情预置有关队伍、装备、物资等资源。调集抢险救援所需物资、设备、工具,准备转移安置场所。
(8)媒体单位优先做好预警信息传播和应急宣传工作,视情不间断滚动播报预警和雨水情信息。
(9)汛期根据需要,各级防指领导在指挥机构坐镇指挥,统筹协调,把握全局。重要险情、灾情现场由防指领导深入一线、靠前指挥、现场督察,迅速组织开展抢险救援工作,可视情设立现场临时指挥部。防指和成员单位加强值班值守和信息报送。
3.3.2 市防指预警行动
当气象部门发布暴雨红色、橙色、黄色预警,或连续2天发布暴雨蓝色预警,按本预案启动相应级别防汛应急响应,采取相应响应行动。当气象部门发布暴雨蓝色预警后,市防指和有关成员单位采取以下响应措施:
(1)风险研判。有关成员单位对灾害风险进行会商研判,结果及时共享并报送市防指。
(2)指挥调度。市领导组织会商调度时,有关成员单位参加并通报情况或安排部署本行业领域防灾减灾工作。市领导未组织时由市水利局牵头组织会商,有关成员单位参加。根据需要,有关成员单位分别组织本行业系统调度。
(3)安排部署。向有关地区和部门传达国家和省、市领导有关指示批示精神,部署防范应对工作,提出工作要求,跟踪工作落实情况,并按要求及时报送情况。
(4)督促指导。市防指视情派工作组赴预警地区,督促指导地方做好转移避险、“关停限”、工程调度、排查巡查、值班值守、物资队伍准备等防范应对工作。
(5)应急准备。视情通知提醒有关市级应急队伍和人员进入待命状态,检查准备市级救援救灾物资装备,并确保其处于良好状态,随时可以投入正常使用。对重点部位和灾害易发区提前预置抢险救援力量和救援救灾物资。
(6)值班值守。市防指和有关成员单位要加强值班值守,按职责分工动态了解掌握有关信息,并及时向市防指报告。应急响应期间,有关部门要按照市防指工作要求向市防指派驻人员开展联合值守、集中办公,加强信息资源共享,形成防灾抗灾合力。
3.4 预警支持
3.4.1 洪涝、干旱风险图
各级防汛抗旱指挥机构应组织有关部门(单位),研究绘制本地区包含城市内涝、江河洪水、山洪灾害、水利工程等方面的风险图和干旱风险图,以各类洪涝和干旱风险图作为抗洪抢险救灾、群众安全转移安置和抗旱救灾决策的技术依据。
3.4.2 洪涝防御方案
各级防汛抗旱指挥机构应根据需要,组织水行政、住房城乡建设等有关部门编制和修订防御江河洪水方案、应对城市内涝方案,主动应对江河洪水和城市渍涝。水行政主管部门应根据情况变化,修订和完善洪水调度方案。
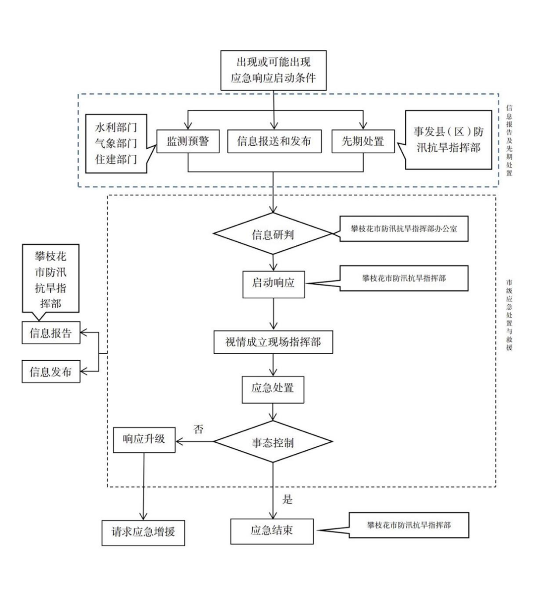
4 应急响应
市级应急响应分为防汛应急响应和抗旱应急响应。市防指适时启动、终止对应级别应急响应。攀枝花市防汛抗旱应急响应流程图见附件3。
4.1 总体要求
(1)组织指挥。建立健全统一指挥、有序高效的应急联动和快速反应机制。灾害发生后,发生地县(区)党委和政府、钒钛高新区党工委和管委会应加强组织领导,防指及时启动应急响应,视情成立现场指挥部,摸排掌握险情灾情,开展会商研判,在高风险区域采取“关停限”措施,迅速调集专业队伍,科学开展现场处置,组织干部群众开展自救互救工作,做好信息发布和舆情引导,按规定及时向上级防指报告。灾害应对关键阶段,应有党政负责同志在防汛抗旱指挥机构坐镇指挥,有关负责同志根据预案和统一安排靠前指挥,确保防汛抢险救灾工作有序高效实施。
(2)转移避险。当出现城市内涝灾害时,防汛抗旱指挥机构应按照应急预案,及时组织有关部门和力量转移安置危险区域人员;对低洼积水等危险区域、路段,有关部门要及时采取警戒、管控等措施,避免人员伤亡。各有关部门(单位)、责任人应按照职责分工,加强山洪灾害监测巡查,及时发出预警,基层人民政府按预案组织受威胁人员安全撤离。堤防决口、水闸垮塌、水库(水电站)垮坝的应急处理,首先应迅速组织受影响群众转移。当地人民政府负责妥善安置受灾群众,提供紧急避难场所,保证基本生活;要加强管理,防止转移群众擅自返回。
(3)抢险救灾。出现水旱灾害或防洪工程发生重大险情后,事发地防汛抗旱指挥机构应根据事件性质,迅速对事件进行监控、追踪,按照预案立即提出紧急处置措施,统一指挥各部门和单位按照任务分工,各司其职,团结协作,快速反应,高效处置,最大程度减少损失。电力、交通、通信、石油、化工等工程设施因暴雨、洪水、内涝发生险情时,工程管理单位应当立即采取抢护措施,并及时向其行业主管等有关部门报告;行业主管部门应当立即组织抢险,并将险情及抢险行动情况报告同级防汛抗旱指挥机构。大江大河干流堤防决口的堵复、水库(水电站)重大险情的抢护应按照事先制定的抢险预案进行,并由防汛专业抢险队伍实施。必要时协调解放军和武警部队增援,提请上级防汛抗旱指挥机构提供帮助。
(4)安全防护。各级人民政府和防汛抗旱指挥机构应高度重视应急救援人员的安全保障,调集储备必要的防护器材、消毒药品、备用电源和抢救伤员必备的器械等物资,以备随时应用。应急救援人员进入和撤出现场由防汛抗旱指挥机构视情况作出决定,进入受威胁的现场前,应采取防护措施以保证自身安全。救援行动中,应急救援队伍应设置安全员,配备高音喇叭、警报器等示警装备。救援行动开始前,应进行安全提示;发现安全隐患时,应及时示警。
(5)社会力量动员和参与。出现水旱灾害后,事发地防汛抗旱指挥机构可根据事件性质和危害程度,报经当地人民政府批准,对重点地区和重点部位实施紧急控制,防止事态及其危害进一步扩大。必要时可通过当地人民政府广泛调动社会力量积极参与突发事件应急处置,紧急情况下可依法征用、调用交通工具、物资、人员等,全力投入抗洪抢险和抗灾救灾。
4.2 启动、终止条件及响应行动
4.2.1 一级应急响应
(1)启动条件和程序
当出现或可能出现下列情形之一,市防指有关成员单位根据影响程度、范围和发展趋势及时向市防办提出启动应急响应建议,市防办组织综合会商研判后提出意见,由市防指指挥长报请市防指总指挥同意后启动一级应急响应。
1.暴雨预警:市气象台连续2天发布红色预警。
2.城市内涝:2个以上县(区)道路积水,积水深度大范围在1米以上,引发大面积停电停水停气、交通中断或瘫痪,城市运行受到严重影响(以上含本数,以下不含本数,下同)。
3.水库:中型及以上水库(水电站)垮坝。
4.堤防:主要江河城区堤防段发生溃决。
5.干旱:发生特大干旱(攀枝花市干旱灾害分级标准见附件4,下同)。
6.其他:其他需要启动一级应急响应的情况。
(2)响应行动
1.安排部署。市防指总指挥组织指挥全市水旱灾害应对工作。根据需要,市防指总指挥组织召开全市紧急动员会,部署各地及成员单位做好防汛抗旱救灾有关工作,督促指导采取转移避险、“关停限”等措施;召开会商调度会,了解掌握汛情、险情、旱情、灾情及重要工情等信息,研判防汛抗旱形势,及时将情况报告总指挥、指挥长和通报有关成员单位。
2.组织指挥。按照市防指总指挥安排,指挥长或市防指总指挥安排的其他市领导率工作组、专家组赴灾害现场组织指挥防范应对工作,与受灾县(区)、钒钛高新区组建前方联合指挥部。多地受灾特别严重时,成立前方分指挥部。市防指总指挥或总指挥安排的有关市领导坐镇市防汛抗旱指挥部办公室(市应急管理局)指挥中心指挥,市防指指挥长或常务副指挥长在市防汛抗旱指挥中心协助市防指总指挥指挥。
3.专项工作组。市防指启动专项工作组,市防指成员单位坚持急事急办、特事特办,按职责全力开展抢险救援、技术保障、通信电力、交通保障、灾情评估、群众安置、医疗救治、社会治安等防汛抗旱抢险救灾工作。
4.信息报送。市防办迅速将应急响应启动及防汛抗旱救灾等情况报告省防指、市委、市政府,并通报市防指各成员单位。视情请求国、省在专家、队伍、装备和物资等方面给予支援。
5.值班值守。市防指强化值班,加强协调、督导事关全局的防汛抗旱调度,并与有关县(区)、钒钛高新区加强视频会商,及时作出针对性安排布置。市防指各成员及联络员保持通信畅通,有关成员单位派联络员到市防办(市应急管理局)指挥中心值班,负责协调、处理、报告本单位有关工作。
6.舆论宣传。市委宣传部组织新闻媒体和基础电信运营商及时播报发布暴雨、洪水和市防指公告等信息。有关成员单位组织协调新闻媒体赴灾区有序采访防汛抗旱救灾工作,并做好正面宣传报道,正向引导舆论。市防指收集舆情信息,适时召开新闻发布会,回应关切。
7.灾情管理。应急响应期间灾情统计实行归口管理、统一上报和发布,市应急管理局负责组织指导全市水旱灾情核查、损失评估,灾情经会商审定后由市委宣传部负责发布,归口报送。
8.社会动员。动员社会各方面力量全力做好防大汛、抢大险、救大灾工作,发动群众开展自救互救工作,动员引导市民减少外出,及时采取避险防范措施。在紧急情况下,按照《中华人民共和国防洪法》《中华人民共和国抗旱条例》等有关规定宣布进入紧急防汛期或紧急抗旱期,并行使有关权力、采取特殊措施,保障防汛抗旱工作顺利实施。
(3)响应终止
当灾害已经或趋于结束时,由市防办提出响应终止建议,市防指总指挥批准。响应结束后,有关部门和单位按职责分工,核实灾害损失和人员伤亡情况,并协助指导地方做好灾后恢复重建工作。
4.2.2 二级应急响应
(1)启动条件和程序
当出现或可能出现下列情形之一,市防指有关成员单位根据影响程度、范围和发展趋势及时向市防办提出启动应急响应建议,市防办组织综合会商研判后提出意见,由市防指指挥长批准后启动二级应急响应。
1.暴雨预警:市气象台发布红色预警或连续2天发布橙色预警。
2.城市内涝:2个以上县(区)道路积水,城市道路积水深度部分在1米以上,城市较大面积停电停水停气、交通中断或瘫痪,城市运行受到严重影响。
3.水库:中型及以上水库(水电站)出现可能导致溃坝险情,小(1)型水库垮坝。
4.堰塞湖:出现按《堰塞湖风险等级划分与应急处置技术规范》(SL/T450—2021)划分的I级风险堰塞湖。
5.堤防:主要江河非城区堤防段或一般江河城区堤防段发生溃决。
6.干旱:发生严重干旱。
7.其他:其他需要启动二级应急响应的情况。
(2)响应行动
1.安排部署。市防指指挥长指挥全市水旱灾害应对处置工作。根据需要,主持召开会商调度会,了解掌握汛情、险情、旱情、灾情及重要工情等信息,研判防汛抗旱形势,部署各地及成员单位做好防汛抗旱救灾有关工作,督促指导采取转移避险、“关停限”等措施。
2.组织指挥。市防指指挥长或常务副指挥长或市防指总指挥安排的有关市领导带领工作组、专家组赴灾害现场组织指挥防范应对工作,视情与受灾县(区)、钒钛高新区组建前方联合指挥部。多地受灾特别严重时,成立前方分指挥部。市防指指挥长或指挥长安排的其他常务副指挥长坐镇市防办(市应急管理局)指挥中心指挥。
3.专项工作组。市防指启动专项工作组,市防指成员单位坚持急事急办、特事特办,按职责全力开展抢险救援、技术保障、通信电力、交通保障、灾情评估、群众安置、医疗救治、社会治安等防汛抗旱抢险救灾工作。
4.信息报送。市防办迅速将应急响应启动及防汛抗旱救灾等情况报告省防指、市委、市政府,并通报市防指各成员单位。视情请求省级在专家、队伍、装备和物资等方面给予支援。
5.值班值守。市防指强化值班,加强协调、督导事关全局的防汛抗旱调度,并与有关县(区)、钒钛高新区加强视频会商,及时作出针对性安排布置。市防指各成员及联络员保持通信畅通,有关成员单位派联络员到市防汛抗旱部办公室(市应急管理局)指挥中心值班,负责协调、处理、报告本单位有关工作。
6.舆论宣传。市委宣传部、市经济和信息化局根据市防指要求,组织新闻媒体和基础电信运营商及时播报发布暴雨、洪水和市防指公告等信息。有关成员单位视情组织协调新闻媒体赴灾区有序采访防汛抗旱救灾工作,并做好正面宣传报道,正向引导舆论。市防指收集舆情信息,适时召开新闻发布会,回应关切。
7.灾情管理。应急响应期间灾情统计实行归口管理、统一上报和发布,市应急管理局负责组织指导全市水旱灾情核查、损失评估,灾情经会商审定后由市委宣传部负责发布,归口报送。
8.社会动员。动员社会各方面力量全力做好防大汛、抢大险、救大灾工作,发动群众开展自救互救工作,动员引导市民减少外出,及时采取避险防范措施。在紧急情况下,按照《中华人民共和国防洪法》《中华人民共和国抗旱条例》等有关规定宣布进入紧急防汛期或紧急抗旱期,并行使有关权力、采取特殊措施,保障防汛抗旱工作顺利实施。
(3)响应终止
当灾害已经或趋于结束时,由市防办提出响应终止建议,市防指指挥长批准。响应结束后,有关部门和单位按职责分工,核实灾害损失和人员伤亡情况,并协助指导地方做好灾后恢复重建工作。
4.2.3 三级应急响应
(1)启动条件和程序
当出现或可能出现下列情形之一,市防指有关成员单位根据影响程度、范围和发展趋势,及时向市防办提出启动应急响应建议,市防办组织综合会商研判后提出意见,由市防指常务副指挥长批准后启动三级应急响应。
1.暴雨预警:2个及以上的县(区)发布红色预警信号,市气象台发布橙色预警或连续2天发布黄色预警。
2.江河洪水重现期:金沙江(攀枝花站)、雅砻江(桐子林站)大于100年一遇,安宁河(米易站)、巴关河(巴关站)、大河(大河站)大于50年一遇小于100年一遇。
3.城市内涝:2个以上县(区)道路积水深度大范围在0.5米以上、1米以下,引发城市部分区域停电停水停气、交通中断或瘫痪,城市运行受到较大影响。
4.水库:中型水库、小(1)型水库出现可能导致溃坝的险情或小(2)型水库发生垮坝。
5.堰塞湖:出现按《堰塞湖风险等级划分与应急处置技术规范》(SL/T450—2021)划分的Ⅱ级风险堰塞湖。
6.堤防:主要江河城区堤段或一般江河城区堤段发生重大险情。
7.干旱:发生中度干旱。
8.其他:其他需要启动三级应急响应的情况。
(2)响应行动
1.安排部署。市防指常务副指挥长(市水利局主要负责同志)主持召开会商调度会,了解掌握汛情、险情、旱情、灾情及重要工情等信息,研判防汛抗旱形势,部署各地及成员单位做好防汛抗旱救灾有关工作,督促指导采取转移避险、“关停限”等措施。
2.组织指挥。市防指及时派出工作组、专家组赴一线督促指导防汛抗旱救灾工作。市防指常务副指挥长或常务副指挥长安排的副指挥长坐镇市防汛抗旱指挥中心指挥。
3.专项工作组。视情启动部分专项工作组。市防指成员单位各司其职,全力开展抗灾救灾工作。
4.信息报送。市防办迅速将应急响应启动及防汛抗旱救灾等情况报告省防指、市委、市政府,并通报市防指各成员单位。市防指各成员单位及时向市防办报送本部门有关工作情况。
5.值班值守。市防指强化值班,加强协调、督导事关全局的防汛抗旱调度,并与有关县(区)、钒钛高新区加强视频会商,及时作出针对性安排布置。有关成员单位的联络员与市防汛抗旱指挥中心保持电话畅通。
6.舆论宣传。市防指根据需要及时发布有关信息,有关成员单位协调指导媒体做好防汛抗旱救灾工作报道,加强舆论引导工作。
(3)响应终止
当灾害已经或趋于结束时,由市防办提出响应终止建议,市防指常务副指挥长批准。响应结束后,有关部门和单位按职责分工,核实灾害损失和人员伤亡情况,并协助指导地方做好灾后恢复重建工作。
4.2.4 四级应急响应
(1)启动条件和程序
当出现或可能出现下列情形之一,市防指有关成员单位根据影响程度、范围和发展趋势,及时向市防办提出启动应急响应建议,市防办组织综合会商研判后提出意见,由市防指副指挥长批准后启动四级应急响应。
1.暴雨预警:2个及以上的县(区)发布橙色预警信号,市气象台发布黄色预警或连续2天发布蓝色预警。
2.江河洪水重现期:金沙江(攀枝花站)、雅砻江(桐子林站)大于50年一遇小于100年一遇,安宁河(米易站)、巴关河(巴关站)、大河(大河站)大于20年一遇小于50年一遇。
3.城市内涝:2个以上县(区)道路积水深度大范围在0.3米以上、0.5米以下,城市部分区域停电停水停气、交通中断或瘫痪,城市运行受到影响。
4.水库:小(2)型水库发生可能导致溃坝的险情。
5.堰塞湖:出现按《堰塞湖风险等级划分与应急处置技术规范》(SL/T450—2021)划分的Ⅲ级风险堰塞湖。
6.堤防:主要江河城区堤段或一般江河城区堤段发生险情。
7.干旱:发生轻度干旱。
8.其他:其他需要启动四级应急响应的情况。
(2)响应行动
1.安排部署。市防指常务副指挥长(市水利局主要负责同志)主持召开会商调度会了解掌握汛情、险情、旱情、灾情及重要工情等信息,研判防汛抗旱形势,部署防汛抗旱救灾有关工作,督促指导采取转移避险、“关停限”等措施。
2.组织指挥。市防指根据需要及时派出工作组、专家组赴一线督促指导防汛抗旱救灾工作,市防指成员单位按职责分工加强应对工作。市防指副指挥长坐镇市防汛抗旱指挥中心指挥。
3.信息报送。市防办迅速将应急响应启动及防汛抗旱救灾等情况报告省防指、市委、市政府并通报市防指各成员单位。市防指各成员单位及时向市防办报送本部门有关工作情况。
4.值班值守。市防指强化值班,加强协调、督导事关全局的防汛抗旱调度,并与有关县(区)、钒钛高新区加强视频会商,及时作出针对性安排布置。
5.舆论宣传。市防指根据需要及时发布有关信息,有关成员单位协调指导媒体做好防汛抗旱救灾工作报道,加强舆论引导工作。
(3)响应终止
当灾害已经或趋于结束时,由市防办提出响应终止建议,市防指副指挥长批准。响应结束后,有关部门和单位按职责分工,核实灾害损失和人员伤亡情况,并协助指导地方做好灾后恢复重建工作。
攀枝花市防汛抗旱应急响应启动条件汇总表见附件5。
4.3 信息报送和发布
4.3.1 报送
防汛抗旱信息的报送和处理由各级防指统一负责,应及时快捷、真实全面。汛情、旱情、工情、险情、灾情等有关信息实行分级上报、归口处理、同级共享,并加强数据核对。遇突发险情、灾情,按照《四川省洪涝突发险情灾情报告暂行规定》要求,各级防指要及时掌握,做好首报和续报工作,原则上应以书面形式逐级上报,在发生重大突发险情灾情的紧急情况下,可在向上一级防指报送的同时越一级报告。
接到汛情、旱情、险情、灾情等水旱灾害突发事件信息后,各级防指要立即如实向同级人民政府及上级防指报告,最迟不得超过1小时,不得迟报、谎报、瞒报和漏报,同时通报可能受影响的地区、部门和企业等。
发生突发重大险情灾情时,所在地的县(区)、钒钛高新区防指应在接报险情灾情30分钟内以电话或其他方式报告,并以书面形式及时补报。大江大河干流重要堤防、涵闸等及大中型水库发生的重大险情,应在险情发生后立即报告市防办。
市防办接到重大汛情、旱情、险情和突发灾情报告后,应在20分钟内以电话或其他方式报告省防指、市委、市政府,并做好续报。
4.3.2 发布
按照属地为主、分级负责、归口发布的方式做好信息发布工作。各级防指统一负责信息发布工作,及时准确、客观全面发布权威信息。重要信息发布前,须征求同级宣传部门意见。各级宣传部门根据实际情况对发布时机、发布方式等提出建议,对发布材料、问答口径等进行指导,并组织新闻媒体采访报道,做好媒体服务管理工作。
市委、市政府的重大决策、部署,全市性或重大的汛情、旱情及防汛抗旱动态等,由市防指统一审核和发布。在市级以上媒体公开报道的稿件,市水利局负责审核汛情、旱情、工情以及防汛抗旱动态等整体情况,市应急管理局负责审核灾情、抢险救援等情况。涉及人员伤亡、经济损失等水旱灾害损失的,由市水利局、市应急管理局会同有关部门共同审核。
4.4 社会力量动员
出现水旱灾害后,事发地防指可根据事件的性质和危害程度,报经当地人民政府批准,对重点地区和重点部位实施紧急控制,防止事态及其危害进一步扩大。必要时可通过当地人民政府调动社会力量参与应急突发事件的处置,紧急情况下可依法征调车辆、物资、人员等,全力投入抗洪抗旱。
4.5 舆论引导
加强舆论引导,深入报道各级党委、政府决策部署和抢险救灾工作进展,大力宣传先进模范和典型事迹,营造全社会关心、重视、支持、参与防汛抗旱工作的良好氛围。
5 应急保障
各级防指要从人员、物资、技术等方面着力提高应对水旱灾害的应急保障能力。
5.1 通信与信息保障
通信管理部门要负责组织、协调、督促和指导各基础电信运营企业,保障防汛抗旱指挥系统和气象、水利、应急等重要机构的通信网络畅通,利用公用通信网发布应急预警短信。
在紧急情况下,应充分利用广播、电视等新媒体和各种通讯方式以及人民防空警报系统发布预警信息,通知群众快速撤离,保护人民生命财产安全。
5.2 应急装备保障
各级防指应储备满足抢险所需的常规抢险机械、抗旱设备、物资和救生器材。
5.3 应急抢险队伍保障
各级防指要组建本级专业防汛抗旱抢险队伍,组建水旱灾害防御、抢险救援专家库,统筹组织社会力量积极参与救援工作。
需要驻攀部队(含预备役部队)、武警部队和综合性消防救援队伍参与防汛抗旱抢险时,当地人民政府及防指要及时商请有关部门按《军队参加抢险救灾条例》及有关规定组织实施。其中,市防指负责联系攀枝花军分区、武警攀枝花支队、市消防救援支队、市森林消防支队参与防汛抗旱抢险。
5.4 供电保障
电力部门负责抗洪抢险、抢排渍涝、抗旱救灾等方面的供电需要和应急救援现场的临时供电保障。
5.5 交通运输保障
铁路、交通运输、公安部门按照职责分工,强化重大生命线工程安全保障,制定相应的应急预案,优先保证防汛抢险人员和防汛抗旱物资的运输,适时实行交通管制,密切配合做好交通运输保障工作。
5.6 医疗卫生保障
卫生健康部门负责组织开展水旱灾区卫生防疫和医疗救治工作。
5.7 治安保障
公安部门、武警部队主要负责做好水旱灾区的治安管理工作,依法严厉打击破坏防汛抗旱救灾行动和工程设施安全的行为,保证抗灾救灾工作的顺利进行;负责组织搞好防汛抢险、分洪爆破的戒严、警卫工作,维护灾区的社会治安秩序。
5.8 物资保障
防汛抗旱物资管理坚持“定额储备、专业管理、保障急需”原则。防汛抗旱物资仓库在汛期和干旱期应随时做好物资调运的各项准备工作,按调令保证防汛抗旱物资快速、安全地运达指定地点。
当储备物资消耗过多,不能满足抗洪抢险和抗旱救灾需要时,各级防指应联系有资质的厂家紧急生产、调运所需物资,必要时可向社会公开征集。
5.9 资金保障
各级人民政府应根据《中华人民共和国防洪法》《中华人民共和国抗旱条例》有关规定,建立和完善与经济社会发展水平以及防汛抗旱要求相适应的资金投入机制,在本级财政预算中安排必要资金,保障防汛抗旱投入。
5.10 技术保障
各级防指在防汛抗旱应急工作中要应用先进的工程抢险技术和现代化的信息技术,逐步建立完善防汛抗旱指挥系统和专家库系统,加强防汛抗旱基础性研究,提高防汛抗旱技术能力和水平。
要强化科技支撑,加大政策引领和资金投入,支持科学理论研究和先进适用装备的研发、应用和配备,加强科技信息化运用,提升防汛抗旱工作效率,降低防汛抗旱工作成本,全面提高防汛抗旱工作的科学化、专业化、智能化水平。
6 后期处置
6.1 物资补充和工程修复
针对当年产生的防汛抗旱抢险物资消耗,各级防指应分级筹措、及时补充防汛抗旱抢险物资。
对影响当年防洪安全和城乡供水安全的水毁工程,应组织突击施工,尽快修复。
遭到毁坏的交通、电力、通信、水文以及防汛专用通信等基础设施,有关部门应按照职责,尽快组织修复,投入正常运用。
6.2 调查评估
县(区)级防指应组织对造成较大损失或典型性的水旱灾害事件进行调查评估,复盘分析防范应对处置工作,总结经验教训,制定改进措施。必要时,市防指直接开展调查评估。
各级防指应实行防汛抗旱工作年度评估制度,着重对各个方面和环节进行定性定量总结、分析、评估,总结经验,查找不足,分析原因,提出改进完善建议,以进一步做好防汛抗旱工作。
6.3 奖励
对在防汛抗旱工作中贡献突出的单位和个人,按照国家和地方有关规定给予表彰、表扬、奖励。
6.4 约谈整改
对于防汛抗旱工作不力的地区,上级防指及时予以提醒,必要时约谈所在地乡(镇)级及以上地方人民政府与有关部门主要负责人,并督促整改到位。
6.5 责任追究
对防汛抗旱工作中责任不落实、发现隐患不作为、处置不得力、敷衍塞责等失职渎职行为,依据有关法律法规纪律严肃追究部门监管责任、管理主体责任,严肃追究领导责任和监管责任。因玩忽职守造成损失的,依据有关法律法规,追究当事人的责任,并依法予以处理。
7 附则
7.1 预案演练
各级防指及有关单位应制定应急演练计划,根据实际情况采取实战演练、桌面推演等方式,每2年至少组织一次各方人员广泛参与、处置联动性强、形式多样、安全高效的应急演练,主要负责人应视情参加。
7.2 预案管理与更新
预案实施后,市防指会同有关部门(单位)组织预案学习、宣传和培训,并根据实际情况适时组织评估和修订。
各县(区)、钒钛高新区防指结合当地实际编制防汛抗旱应急预案,后面经本级人民政府、管委会审批,并报上一级防办备案。有防汛抗旱任务的乡镇(街道)、村(社区)应急预案应当经本级主要负责人或分管负责人签发,报上一级防办备案。部门防汛抗旱应急预案经部门主要负责同志批准后印发实施,报本级人民政府备案,并抄送本级防汛抗旱指挥机构。
各级各有关部门(单位)要强化防汛抗旱应急预案衔接,按照“下级预案服从上级预案,专项、部门预案服从总体预案,预案之间不得相互矛盾”的原则做好预案编修工作。
7.3 名词术语定义
主要江河:金沙江、雅砻江、安宁河、大河、巴关河。
三个避让:主动避让,提前避让,预防避让。
三个紧急撤离:危险隐患点发生强降雨时要紧急撤离,接到暴雨蓝色及以上预警或预警信号要立即组织高风险区域群众紧急撤离,出现险情征兆或对险情不能准确研判时要紧急撤离。
三单一书:领导干部责任清单、部门职责清单、隐患风险清单和一项承诺书。
两书一函:约谈通知书、整改通知书和提醒敦促函。
四不两直:不发通知、不打招呼、不听汇报、不用陪同接待、直奔基层、直插现场。
洪水风险图:是融合地理、社会经济、洪水特征信息,通过资料调查、洪水计算和成果整理,以地图形式直观反映某一地区发生洪水后可能淹没的范围和水深,用以分析和预评估不同量级洪水可能造成的风险和危害的工具。
干旱风险图:是融合地理、社会经济、水资源特征信息,通过资料调查、水资源计算和成果整理,以地图形式直观反映某一地区发生干旱后可能影响的范围,用以分析和预评估不同干旱等级造成的风险和危害的工具。
防御洪水方案:是对有防汛抗洪任务的县级以上人民政府根据流域综合规划、防洪工程实际状况和国家规定的防洪标准,制定的防御江河洪水(包括特大洪水)、山洪灾害等方案的统称。
紧急防汛期:根据《中华人民共和国防洪法》规定,当江河、湖泊的水情接近保证水位或者安全流量,水库水位接近设计洪水位或者防洪工程设施发生重大险情时,有关县级以上人民政府防汛指挥机构可以宣布进入紧急防汛期。在紧急防汛期,国家防汛指挥机构或者其授权的流域、省、自治区、直辖市防汛指挥机构有权对壅水、阻水严重的桥梁、引道、码头和其他跨河工程设施作出紧急处置。防汛指挥机构根据防汛抗洪的需要,有权在其管辖范围内调用物资、设备、交通运输工具和人力,决定采取取土占地、砍伐林木、清除阻水障碍物和其他必要的紧急措施;必要时,公安、交通等有关部门按照防汛指挥机构的决定,依法实施陆地和水面交通管制。
7.4 预案解释
本预案由攀枝花市防办负责解释。
7.5 实施时间
本预案自印发之日起实施,《攀枝花市人民政府办公室关于印发〈攀枝花市防汛抗旱应急预案(2022年7月修订)〉的通知》(攀办发〔2022〕56号)同时废止。
附件:1.攀枝花市防汛抗旱组织指挥体系图
2.攀枝花市防汛抗旱指挥部专项工作组构成及职责
3.攀枝花市防汛抗旱应急响应流程图
4.攀枝花市干旱灾害分级标准
5.攀枝花市防汛抗旱应急响应启动条件汇总表
附件1
攀枝花市防汛抗旱组织指挥体系图
附件2
攀枝花市防汛抗旱指挥部专项工作组构成及职责
|
分工 分组 |
综合协调组 |
抢险救援组 |
技术保障组 |
通信电力保障组 |
交通保障组 |
|
牵头单位 |
市应急管理局、 市水利局 |
市应急管理局、市水利局 |
市水利局 |
国网攀枝花供电公司、市通发办 |
市交通运输局 |
|
成员单位 |
市发展改革委、市公安局、市自然资源和规划局、市交通运输局、市国资委等有关单位。 |
攀枝花军分区、武警攀枝花支队、市公安局、市自然资源和规划局、市住房城乡建设局、市交通运输局、市水利局、市国动办、市消防救援支队、市森林消防支队市红十字会等有关单位。 |
市自然资源和规划局、市气象局、长江上游水文水资源勘测局攀枝花分局、攀枝花水文水资源勘测中心等有关单位。 |
市发展改革委、市经济和信息化局、中国电信攀枝花分公司、中国移动攀枝花分公司、中国联通攀枝花分公司等有关单位。 |
市公安局、中国铁路成都局集团有限公司西昌工电段等有关单位。 |
|
工作职责 |
传达贯彻党中央、国务院指示,传达执行国家防总,省委、省政府和市委、市政府指示、部署,做好防汛抗旱综合协调工作。汇总报送灾险情动态和应急工作进展情况等。完成市防指交办的其他任务。 |
负责组织指导救援救助受灾群众,统筹各有关力量实施抢险救援救灾工作。完成市防指交办的其他任务。 |
负责做好气象、水文、地质、测绘等信息保障。密切监视汛情、险情、灾情及次生衍生灾害发展态势,及时组织会商研判,为应急抢险救援提供决策咨询。完成市防指交办的其他任务。 |
负责应急通信、电力等保障工作;组织抢修供电、供气、通信等设施。完成市防指交办的其他任务。 |
负责做好交通运输保障。实施必要的交通疏导和管制,维护交通秩序;协调组织优先运送伤员和抢险救援救灾人员、物资、设备。完成市防指交办的其他任务。 |
|
分工 分组 |
灾情评估组 |
群众安置组 |
医疗救治组 |
社会治安组 |
宣传报道组 |
其他分组 |
|
牵头单位 |
市应急管理局、市水利局 |
市应急管理局 |
市卫生健康委 |
市公安局 |
市委宣传部 |
牵头单位、成员单位和工作职责等根据需要调整设置。 |
|
成员单位 |
市自然资源和规划局、市住房城乡建设局、市交通运输局、市农业农村局等有关单位。 |
市发展改革委、市教育和体育局、市民政局、市财政局、市自然资源和规划局、市住房城乡建设局、市水利局、市商务局、市文广旅局、市红十字会等有关单位。 |
市经济和信息化局、市红十字会等有关单位。 |
武警攀枝花支队等有关单位。 |
市水利局、市应急管理局、市公安局、市文广旅局等有关单位。 |
|
|
工作职责 |
负责水旱灾害事件灾情统计、核查和灾害损失评估、灾害调查评估。完成市防指交办的其他任务。 |
负责受灾群众(游客)转移安置和基本生活保障。对安置场所进行灾害风险评估;及时组织调拨救灾款物,视情开展救灾捐赠;做好受灾人员家属抚慰和因灾遇难人员遗体处置工作。完成市防指交办的其他任务。 |
负责医疗救(援)治和卫生防疫工作。加强医疗物资的组织调度,做好救援人员的医疗保障工作;做好洪灾及次生衍生灾害发生后疾病预防控制和卫生监督工作。完成市防指交办的其他任务。 |
负责灾区社会治安维稳工作。预防和打击各类犯罪活动,预防和处置群体事件;做好灾区重要目标安全保卫工作。完成市防指交办的其他任务。 |
统筹新闻报道工作。指导做好现场发布会和新闻媒体服务管理;组织开展舆情监测研判,加强舆情管控。完成市防指交办的其他任务。 |
附件3
攀枝花市防汛抗旱应急响应流程图
附件4
攀枝花市干旱灾害分级标准
干旱灾害按灾情程度分为特别重大、重大、较大和一般灾害四级。符合下列条件之一的,确定为相应级别的干旱灾害。
单位:万亩、万人
|
干旱 类型 |
时段 |
特大 |
严重 |
中度 |
轻度 |
||||
|
作物受旱面积(I) |
因旱饮水困难人数(N) |
作物受旱面积(I) |
因旱饮水困难人数(N) |
作物受旱面积(I) |
因旱饮水困难人数(N) |
作物受旱面积(I) |
因旱饮水困难人数(N) |
||
|
冬干 |
11月21日—2月28日 |
I>60% (I>138) |
N≥60% (N≥30) |
40%<I≤60% (92<I≤138) |
40%≤N<60% (20≤N<30) |
30%<I≤40% (69<I≤92) |
20%≤N<40% (10≤N<20) |
10%<I≤30% (23<I≤69) |
10%≤N<20% (5.5≤N<10) |
|
春旱 |
3月1日—5月5日 |
||||||||
|
夏旱 |
4月26日—7月5日 |
||||||||
|
伏旱 |
6月26日—9月10日 |
||||||||
|
牧区 干旱 |
4月26日—7月15日 |
夏季牧草返青率≤40% |
40%<夏季牧草返青率≤60% |
60%<夏季牧草返青率≤80% |
80%<夏季牧草返青率≤85% |
||||
|
7月15日—9月15日 |
秋季牧草返青率≤40% |
40%<秋季牧草返青率≤60% |
60%<秋季牧草返青率≤80% |
80%<秋季牧草返青率≤85% |
|||||
|
城市 干旱 |
|
连续15天城市供水率≤75% |
75%<连续15天城市供水率≤85% |
85%<连续15天城市供水率≤90% |
90%<连续15天城市供水率≤95% |
||||
说明:1.作物受旱面积:指在田作物受旱面积。受旱期间能保证灌溉的面积,不列入统计范围。
2.因旱饮水困难人数:指由于干旱导致基本生活用水量低于35升/(人·天),且持续15天以上的人口数。
附件5
攀枝花市防汛抗旱应急响应启动条件汇总表
|
分类启动条件响应 |
应急响应分级 |
||||
|
一级响应 |
二级响应 |
三级响应 |
四级响应 |
||
|
暴雨预警 |
市气象台连续2天发布红色预警 |
市气象台发布红色预警或连续2天发布橙色预警 |
2个及以上的县(区)发布红色预警信号,市气象台发布橙色预警或连续2天发布黄色预警 |
2个及以上的县(区)发布橙色预警信号,市气象台发布黄色预警或连续2天发布蓝色预警 |
|
|
江河洪水重现期 |
/ |
/ |
金沙江(攀枝花站)、雅砻江(桐子林站)大于100年一遇,安宁河(米易站)、巴关河(巴关站)、大河(大河站)大于50年一遇小于100年一遇 |
金沙江(攀枝花站)、雅砻江(桐子林站)大于50年一遇小于100年一遇,安宁河(米易站)、巴关河(巴关站)、大河(大河站)大于20年一遇小于50年一遇 |
|
|
险情 |
城市内涝 |
2个以上县(区)道路积水,积水深度大范围在1米以上,引发大面积停电停水停气、交通中断或瘫痪,城市运行受到严重影响 |
2个以上县(区)道路积水,城市道路积水深度部分在1米以上,城市较大面积停电停水停气、交通中断或瘫痪,城市运行受到严重影响 |
2个以上县(区)道路积水深度大范围在0.5米以上、1米以下,引发城市部分区域停电停水停气、交通中断或瘫痪,城市运行受到较大影响 |
2个以上县(区)道路积水深度大范围在0.3米以上、0.5米以下,城市部分区域停电停水停气、交通中断或瘫痪,城市运行受到影响 |
|
险情 |
水库 |
中型及以上水库(水电站)垮坝 |
中型及以上水库水电站出现可能导致溃坝险情,小(1)型水库垮坝 |
中型水库、小(1)型水库出现可能导致溃坝的险情或小(2)型水库发生垮坝 |
小(2)型水库发生可能导致溃坝的险情 |
|
堰塞湖 |
/ |
出现按《堰塞湖风险等级划分与应急处置技术规范》(SL/T450—2021)划分的I级风险堰塞湖 |
出现按《堰塞湖风险等级划分与应急处置技术规范》(SL/T450—2021)划分的Ⅱ级风险堰塞湖 |
出现按《堰塞湖风险等级划分与应急处置技术规范》(SL/T450—2021)划分的Ⅲ级风险堰塞湖 |
|
|
堤防 |
主要江河城区堤防段发生溃决 |
主要江河非城区堤防段或一般江河城区堤防段发生溃决 |
主要江河城区堤段或一般江河城区堤段发生重大险情 |
主要江河城区堤段或一般江河城区堤段发生险情 |
|
|
干旱 |
发生特大干旱 |
发生严重干旱 |
发生中度干旱 |
发生轻度干旱 |
|
|
其他 |
其他需要启动一级响应的情况 |
其他需要启动二级响应的情况 |
其他需要启动三级响应的情况 |
其他需要启动四级响应的情况 |
|
注:当出现或可能出现以上条件之一,对影响程度、范围和发展趋势经综合会商研判后,启动相应级别应急响应。


川公网安备 51040202000005号
